5
5
1
19
19

Трансформатор силовой масляный ТМГ-40/10/0,4 (У/Ун-0 УХЛ1)

  • Розница
  • Опт
  • Под заказ Проверено

Код товара: 197-507-2

+ 375 Показать телефоны

Заказать Заказать звонок

Характеристики

Производитель МЭТЗ
Масса, кг 300
Частота, Гц 50
Климатическое исполнение УХЛ1
Серия ТМГ
Ширина, мм 680
Высота, мм 1000
Гарантия, лет 5
Страна производитель Беларусь
Длина, мм 840
Номинальная мощность, кВА 40
Схема и группа соединений обмоток У/Ун-0
Напряжение на стороне ВН, кВ 10
Напряжение на стороне НН, кВ 0.4

Товарная группа

Трансформатор силовой масляный трехфазный герметичный серия ТМГ Трансформатор силовой масляный трехфазный герметичный серия ТМГ

Трансформаторы типа ТМГ – это силовые масляные трансформаторы в герметичном исполнении. В их конструкции отсутствуют расширитель и воздушная (газовая подушка), что позволило уменьшить размеры устройства. Масло дегазируется перед заливкой и не контактирует с окружающей средой, поэтому не окисляется и практически не меняет своих свойств на протяжении всего срока эксплуатации. ...

Ассортимент

Трансформатор силовой масляный ТМГ-63/10/0,4 (У/Ун-0 УХЛ1)
Трансформатор силовой масляный ТМГ-63/10/0,4 (У/Zн-11 УХЛ1)
Трансформатор силовой масляный ТМГ-63/6/0,4 (У/Ун-0 УХЛ1)
Трансформатор силовой масляный ТМГ-63/6/0,4 (У/Zн-11 УХЛ1)
Трансформатор силовой масляный ТМГ-63/6/0,4 (Д/Ун-11 УХЛ1)
Показать еще ассортимент

Трехфазные масляные трансформаторы ТМГ предназначены для преобразования электроэнергии в сетях энергосистем и потребителей электроэнергии в условиях наружной или внутренней установки умеренного (от плюс 40 до минус 45 °C) или холодного (от плюс 40 до минус 60 °C ) климата. Окружающая среда невзрывоопасная, не содержащая пыли в концентрациях, снижающих параметры изделий в недопустимых пределах. Трансформаторы не предназначены для работы в условиях тряски, вибрации, ударов, в химически активной среде. Высота установки над уровнем моря не более 1000 м.

Регулирование напряжения осуществляется в диапазоне до ± 5 % на полностью отключенном трансформаторе (ПБВ) переключением ответвлений обмотки ВН ступенями по 2,5 %.

Согласно ГОСТ 11677, предельные отклонения технических параметров трансформаторов составляют: напряжение короткого замыкания ±10%; потери короткого замыкания на основном ответвлении +10 %; потери холостого хода +15 %; полная масса +10 %.

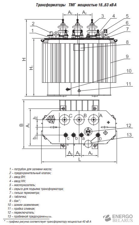
Трансформаторы ТМГ герметичного исполнения, без маслорасширителей.

Температурные изменения объема масла компенсируются изменением объема гофров бака за счет упругой их деформации. 

Для контроля уровня масла в трансформаторах предусмотрен маслоуказатель поплавкового типа.

Для предотвращения возникновения избыточного давления в баке сверх допустимого в трансформаторах мощностью от 16 до 63 кВ·А устанавливается предохранительный клапан.

Для контроля внутреннего давления в баке и сигнализации в случае превышения им допустимой величины в трансформаторах мощностью 100 кВ·А и выше, размещаемых в помещении, предусматривается по заказу потребителя установка электроконтактного мановакуумметра.

Для измерения температуры верхних слоев масла на крышке трансформаторов предусмотрена гильза для установки жидкостного стеклянного термометра.

Для измерения температуры верхних слоев масла и управления внешними электрическими цепями трансформаторы мощностью 1000 и 1250 кВ·А, предназначенные для эксплуатации в помещении или под навесом, по заказу потребителя комплектуются манометрическим сигнализирующим термометром.

Вводы ВН трансформаторов класса напряжения 20 кВ снабжены изоляторами PPS штепсельного типа.

Трансформаторы мощностью 630 кВ·А и выше комплектуются транспортными роликами для перемещения трансформаторов в продольном и поперечном направлениях.

Преимущества трансформаторов ТМГ производства Минского электротехнического завода им. В.И. Козлова

Выпуск трансформаторов типа ТМГ освоен на Минском электротехническом заводе им.В.И.Козлова в 1986 году по лицензии и на оборудовании французской фирмы “Alstom Atlantic”.

В производстве трансформаторов типа ТМГ, как и в трансформаторах ведущих мировых фирм по производству трансформаторов, применен ряд технических решений, увеличивающих их надежность и снижающих эксплуатационные затраты.

  • Трансформаторы изготавливаются в герметичном исполнении с полным заполнением маслом, без расширителя и без воздушной или газовой подушки.
  • Контакт масла с окружающей средой полностью отсутствует, что исключает увлажнение, окисление и шламообразование масла.
  • Перед заливкой масло дегазируется, заливка его в бак производится в специальной вакуумзаливочной камере при глубоком вакууме, что обеспечивает удаление из масла растворенного в нем воздуха, удаление из изоляции воздушных включений, тем самым предотвращается окисление масла, обеспечивается высокая электрическая прочность изоляции трансформатора.
  • Масло в трансформаторах типа ТМГ Минского электротехнического завода им. В.И. Козлова (в отличие от трансформаторов типа ТМ, ТМЗ, ТМГ других производителей, у которых не осуществляется дегазация масла) практически не меняет своих свойств в течение всего срока службы трансформатора. Исключается необходимость проведения испытаний масла трансформаторов типа ТМГ как при их хранении, так и при вводе в эксплуатацию и в процессе эксплуатации (“… Из герметизированных трансформаторов проба масла не отбирается.” Правила устройства электроустановок. Седьмое издание. Москва, 2003. Глава 1.8.16, п. 13).
  • Не требуется проведение профилактических, текущих и капитальных ремонтов в течение всего срока эксплуатации трансформатора. Трансформаторы других типов требуют дополнительного проведения испытаний трансформаторного масла в процессе хранения, ввода в эксплуатацию, эксплуатации, проведения текущих и капитальных ремонтов. Кроме того, трансформаторы ТМ дополнительно требуют проведения систематических осмотров для определения степени увлажнения сорбента воздухоосушителя. При насыщении сорбента влагой требуется его замена на новый (на приобретение которого требуется расход средств) или на регенерированный (на регенерацию требуется расход тепловой энергии). В трансформаторах типа ТМЗ при хранении и эксплуатации необходимо систематически контролировать обязательное наличие избыточного давления азота (необходимо его подкачивать даже при наличии полной герметизации), так как возможно снижение давления азота за счёт поглощения его маслом. Суммарные расходы на выполнение всех вышеизложенных работ в течение срока эксплуатации трансформаторов типа ТМ и ТМЗ достигают от 40 до 63 % полной стоимости трансформатора (в зависимости от его мощности).
  • Гофрированные баки трансформаторов типа ТМГ Минского электротехнического завода им. В.И. Козлова абсолютно безопасны и имеют высокую надежность. Избыточное давление в баках при эксплуатации трансформаторов не превышает 0,18 … 0,23 кгс/см2. Перед запуском в серийное производство гофрированные баки трансформаторов типа ТМГ Минского электротехнического завода им.В.И.Козлова (в отличие от трансформаторов ТМГ других производителей) подвергаются механическим испытаниям на цикличность для подтверждения их ресурса работы/ на расчетный срок службы трансформатора – 30 лет (10000 циклов на воздействие максимального и минимального давлений).
  • Для ограничения давления в баках при перегрузках трансформаторы типа ТМГ Минского электротехнического завода им. В.И. Козлова мощностью от 16 до 63 кВ•А снабжаются предохранительным клапаном, в трансформаторах мощностью 100 кВ•А и выше возможна установка электроконтактного мановакуумметра, а в трансформаторах мощностью 630 кВ•А и выше возможна установка также и манометрического термометра ТКП-160. Для проверки уровня масла трансформаторы типа ТМГ всех мощностей снабжаются поплавковым маслоуказателем.
  • Для регулирования напряжения трансформаторы снабжаются переключателями с автоматическим внутренним фиксатором положений и контактами оптимальной формы. Эти технические решения исключают выход из строя трансформаторов по причине короткого замыкания секций обмоток, и тем самым обеспечивается более высокая надежность трансформаторов Минского электротехнического завода им. В.И. Козлова по сравнению с трансформаторами, выпускаемыми другими производителями.
  • Трансформаторы МЭТЗ им. В.И. Козлова соответствуют всем российским стандартам, стандартам МЭК, сертифицированы на соответствие требованиям безопасности нормативных документов Госстандартом России. Система качества предприятия сертифицирована международным органом по сертификации – “DEKRA”, Германия – на соответствие МС ИСО 9001:2015 и национальным органом по сертификации – БелГИСС – на соответствие СТБ ISO 9001-2015.
Около двух миллионов трансформаторов типа ТМГ производства Минского электротехнического завода им. В.И. Козлова надёжно и практически с нулевыми эксплуатационными издержками работают на промышленных объектах, в городских и сельских электросетях.

Контакты продавца

3.4

Минский электротехнический завод им. В.И. Козлова ОАО

  • Розница
  • Опт
  • 826 товаров компании

+ 375 Показать телефоны

Адрес:

220037, Беларусь, Минская обл., Минск, ул. Уральская, 4, каб. 502

Сообщите поставщику, что нашли его на EnergoBelarus.by

EnergoBelarus.by не осуществляет проверку размещенной информации. Ответственность за несоответствие информации действующему законодательству Республики Беларусь несет компания-продавец согласно Пользовательскому соглашению

Информация о товарах и услугах на портале EnergoBelarus.by носит справочный характер и не является публичной офертой.

Трансформатор силовой масляный ТМГ-40/10/0,4 (У/Ун-0 УХЛ1) купить или заказать можно у компаний, указанных на этой странице. Указанная цена может отличаться от фактической. Уточняйте цену и условия доставки у продавца заранее.

При любом использовании материалов активная гиперссылка на EnergoBelarus.by обязательна.

Если Вы заметили неточность или ошибку в описании или цене, пожалуйста, сообщите нам на почту info@energobelarus.by .

ООО «ДЕЛОВЫЕ СИСТЕМЫ СВЯЗИ»
Отраслевой информационно-аналитический портал, посвящённый энергетике Беларуси. Актуальные новости и события. Подробная информация о компаниях, товары и услуги.
220013
Республика Беларусь
Минск
ул. ул. Б. Хмельницкого, 7, офис 310
+375 (17) 336 15 55 , +375 (25) 694 54 56 , +375 (29) 302 40 02 , +375 (33) 387 08 05
+375 (17) 336 15 56
info@energobelarus.by
ЭнергоБеларусь

ЭнергоБеларусь

ЭнергоБеларусь

ЭнергоБеларусь

191611654
5
5
1
150
150